产品搜索:
 
 
 
 
电能质量
电抗器
电容器
功率因数控制器
晶闸体开关
江苏莱恩智能电力科技有限公司【官网】
智能电力仪表能源管理系统
Z系列网络多功能电力仪表
K系列可编程智能电力仪表
LN3000能源管理配电系统
LN系列导轨式安装电能表
LNBS电量变送器及采集器
电动机控制器线路保护装置
LN60系列低压智能电动控制器
LN20系列低压电动机控制器
LN60M-L低压线路测控保护器
开关智能操控装置无线测温
LN96Y-CW开关柜无线测温装置
LN286系列开关柜状态智能操控装置
 
地 址: 江阴市临港经济开发区滨
  江西路2号
电 话: 051086116833
手 机: 17895117786
传 真: 0510-86116933
E-MAIL: len286@126.com
 
LN96Y-CW开关柜无线测温装置

一、概述

LN96Y-CW系列无线测温装置采用前沿的Zigbee组网技术设计方案,利用WX-100系列无线温度传感器实时测量高压带电体的温度,可实现多点高压带电体温度的集中监测。WX-100系列无线温度传感器能够实时、地测量各高压带电体的温度,并通过无线通信技术把温度数据发送给无线测温主机(LN96Y-CW),主机对接收到的数据进行处理,当监测点温度超过所设定的温度值,发出报警并驱动报警触点。测量值和内部参数值也可以通过RS485总线发送给后台监控计算机,实现网络化的温度监测和预警。
系统具有低功耗、数据无线传输、精度高、响应速度快、安装操作灵活、组网方便等优势。产品广泛适用于高压开关柜内手车或隔离开关触头、母线接头、电缆接头处等需要温度监测的地方,防止连接点发热酿成事故,高压设备能够安全运行。
温度检测方式对比:
1、热电偶、热电阻:测温精度比测温片稍高一些,优点是价钱便宜可以预置报警,缺点是精度同样不是很高,易受电磁场的干扰,且传感器材质为金属导体,有着非常大的安全隐患。
2、红外测温:其通常表现为红外手枪和红外成像,其属于非接触测温,安全系数非常高,价格也比较高,其缺点是不能实时在线,红外手枪只能测到光线接触到的表面温度,机柜内部的温度测不到,且其数值会随环境温度的变化而变化,受环境、光照、灰尘的影响较大,所以所测温度并不是很。
3、无线测温:是新时代的新型测温方式,是今后测温仪器的发展趋势,是以后“无人看守变电站”的测温主要途径,其优点有很多:
①采用的数字化及无线传输技术,独特的绝缘性能,使用方便经济,接收到的温度准确可靠,不会对一次设备产生任何干扰和影响,无需繁琐的连线,系统安装简洁方便。
②标准化设计,可方便扩展与其它系统互连,费用低廉,安装灵活,从温度信息采集到数据处理、显示、通信组成系统,配置更为灵活。
③高传输质量的前提下,采用低功耗设计。
④无线测温传感器可选CT线圈取电式(无需更换电池),也可选电池式(电池供电6-8年),无线测温传感器本身具有极强的机械强度和电磁抗干扰能力。

 

二、功能特点

●可同时在线监测12个电气接点的温度数据,采用LCD点阵液晶显示,美观大方;
●可显示当前日期、时间、环境温度;
●可显示各个测温通道状态:正常、预警、报警、离线;
●对应各个监测点可设置预警值、报警值、延时时间等参数;
●监测温度超过预警值,在屏幕上显示该通道预警,预警不触发无源输出;
●监测温度超过报警值,在屏幕上显示该通道报警,并触发无源预警输出;
●标配1路RS485通讯接口,MODBUS协议,波特率:1200~19200可选;

三、技术指标

1、LN96Y-CW无线测温显示装置
项目 技术指标

工作电源 AC/DC 85~265V
功耗 <7VA
报警输出 3路无源干接点输出(5A 250VAC/30VDC)
通讯接口 RS-485工业总线接口
通讯频段 433MHz或2.4G
温度显示范围 0~150℃
工作环境 -20~60℃,相对湿度≤93%,无腐蚀气体,海拔高度≤2500m
隔离耐压 电源/输入/输出之间耐压>2kV
电磁兼容性 符合IEC255-22
安装方式 屏面开孔嵌入式安装(开孔尺寸:91×91mm)
平均无故障时间 ≥80000h

2、WX-100测温传感器模块
项目 技术指标
通讯频段 与无线测温显示装置匹配的433MHz或2.4G
测温范围 0~150℃
测温精度 ±2℃
测温分辨率 1℃
温度测量周期 T<15s
供电电源 CT线圈取电式:感应取电(10%Ie~300%Ie ,可定制);
电池式:内置电池供电(电池供电6-8年)
适用电流规格 630A/1250A/1600A/2000A/3150A

 

四、安装与接线

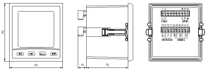
1.  LN96Y-CW无线测温显示装置主机外形尺寸:



2.  LN96Y-CW无线测温显示装置安装方法:
1).在固定的配电柜上,选择合适的地方开一个91×91mm的安装孔;
2).取出LN96Y-CW无线测温显示装置主机,取下两侧安装固定夹,将测温主机从正
面插入配电柜的安装孔中;
3).两侧卡上安装固定夹即可。

3. LN96Y-CW无线测温显示装置接线示意图:



4.  WX-100无线测温传感器安装方法:
每个无线温度传感器都有一个感温点,传感器测到的温度就是该感温点的温度,若传感器放置在空气中,则测到的就是环境温度。CT线圈取电式温度传感器的感温点位于环形的内孔中部,为了准确测量物体表面的温度,应传感器的测温面与被测物体的表面紧密接触。
各测温位置选用不同安装方式的无线测温传感器,安装方法也不同:断路器手车上、下触头处一般选用圆环形传感器(WX-101~WX-105,根据断路器电流规格选口径,具体见下页的表格),圆环传感器套在手车的静触头上,并推入触头盒底部;母排和电缆搭接头处可选用铜排传导式传感器WX-106(内置电池)或表带式传感器WX-107(内置电池),铜排传导式传感器WX-106锁紧在连接点处的螺栓上即可,表带式传感器WX-107利用其自带的表带绑扎在测温点附近的铜排上即可。

 

 

 5.  WX-100圆环形无线测温传感器与静触头的配合选择

传感器型号 适用断路器规格 适用额定电流
WX-101 Φ35 630A
WX-102 Φ49 1250A
WX-103 Φ55 1600A
WX-104 Φ934;79 2000~2500A
WX-105 Φ109 3150~4000A

  

使用注意事项:
1、本系列装置的通用工作电源:AC或DC 85V~265V;需接入特殊供电电源时,订货前须说明并定制;
2、本系列装置必须由专业人员进行安装、调试及更换。安装接线时请严格按照本说明书所述方法及对应位置配接线,要位置准确、接线可靠;
3、无线测温接收器及测温传感器必须按照其标识上的设备号配套安装,而且测温传感器必须按照标识正确安装到回路的相应位置,否则装置无法正确显示各带电点的温度;安装于手车静触头上的CT取电式测温传感器为感应取电,当回路电流>3%In时才能正常测温;安装于母排和电缆搭接点的WX-106、WX-107测温传感器为内置电池供电,为了降低测温传感器的功耗,当该测温传感器检测到的温度连续24小时以上小于30℃,则该测温传感器将处于休眠状态,直至温度达到30℃以上后再次激活(若需要5~30℃区间也一直显示温度,则需要在订货前提出);
4、 不按照正确操作方法而导致的装置损坏、人身伤害等意外,本公司不承担任何责任。

具体功能说明:请联系公司销售人员,以公司样本为准。

 
[返回] [打印]
 
 
人才招聘 在线留言        主页导航 公司简介 服务与支持 企业文化 荣誉证书 新闻中心 产品中心 联系我们

版板所有:江苏莱恩智能电力科技有限公司 地址:江阴市临港经济开发区滨江西路2号
手机:17895117786 传真:0510-86116933 www.jylendq.com E-MAIL:len286@126.com

网站建设:君通科技苏ICP备14027984号-1